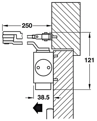
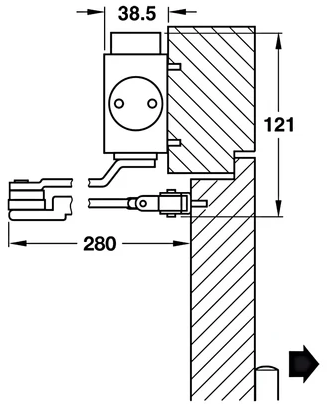
Vật liệu: Hợp kim nhôm
Hoàn thiện: Màu bạc
- Đặc tính
Kiểm định theo tiêu chuẩn EN 1154
Đạt chứng nhận CE
Có thể điều chỉnh lực đóng
Có thể điều chỉnh lực phản
- Thông tin kỹ thuật
Lực đẩy EN2 - EN5
Chiều rộng cửa 750 - 1,250 mm
Trọng lượng cửa tối đa 100 kg
Góc mở tối đa 180°
Góc giữ cửa 70° - 150°





