Tổng quan :Đặc điểm kỹ thuật
- Phụ kiện giảm chấn cả hai bên
- Bộ phụ kiện không bao gồm ray trượt
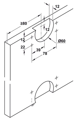
- Độ dày tối thiểu của cánh cửa khác nhau với các trường hợp lắp đặt khác nhau. Vui lòng xem bản vẽ lắp đặt và hướng dẫn lắp đặt
- Giảm chấn được lắp đặc bên trong ray trượt
- Có thể lắp đặt nổi hoặc lắp âm đối với bánh xe trượt
Thông tin chung :
- Độ dày cửa : ≥16mm cho lắp đặt âm
- Chiều rộng cửa : ≥380 mm với cơ chế đóng giảm chấn ở cả hai bên
- Trọng lượng cửa : ≤50 kg
- Vị trí trượt : Phía dưới
- Số lượng bánh xe : 1
- Ổ trục bánh xe : Ổ bi
- Số lượng cánh cửa mỗi bộ : 2
- Chiều cao có thể điều chỉnh : ±4 mm
- Chất liệu mặt bếp : Kính Ceramic - Schott Ceran (Đức)
- Vật liệu : Con lăn: Nhựa, Trục: Thép
- Lắp đặt : Bánh xe trượt có thể lắp đặt nổi hoặc lắp âm, dùng cho khung nhôm có bản rộng từ 42mm
- Phiên bản : Phụ kiện giảm chấn cả hai bên
- Trọn bộ gồm : 8 bánh xe trượt (4 phía trên và 4 phía dưới), 8 nắp chụp cho ray trượt, 4 phụ kiện giảm chấn, 40 vít lắp đặt, 2 lục giác
- Lưu ý : Bộ phụ kiện này không bao gồm ray trượt. Vì vậy, bạn nên mua thêm ray trượt và ray dẫn hướng để hoàn thiện hệ thống
Tham khảo mua kèm :
Ray trượt và ray dẫn hướng, ray đơn
- 401.30.609: Chiều dài 2500 mm
- 401.30.610: Chiều dài 3500 mm



